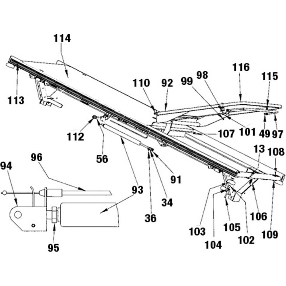
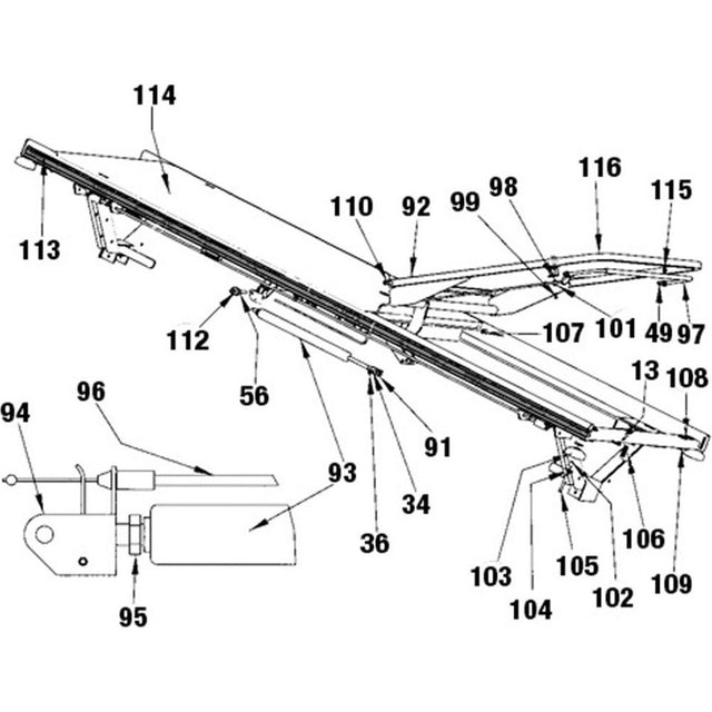
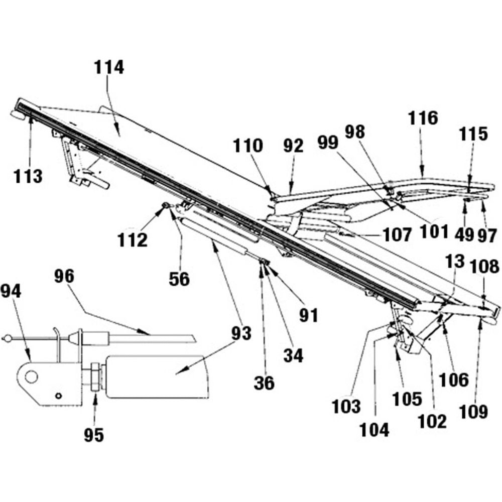
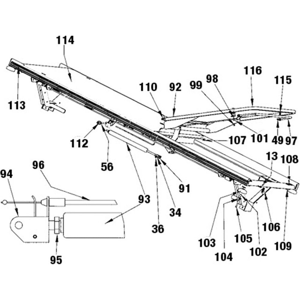
Foot Motor for Span America 4000N
Log in for pricing
Foot Motor for Span America 4000N is backordered and will ship as soon as it is back in stock.
Couldn't load pickup availability


Foot Motor for Span America 4000N is backordered and will ship as soon as it is back in stock.
Couldn't load pickup availability